Go to file
2024-12-25 15:28:36 +08:00
orgmanax-api feat(REQ-3282): 提供briefDTO,用于聚合 2024-12-25 15:28:36 +08:00
orgmanax-common feat:[REQ-3282] 增加异常处理类 2024-12-24 17:45:11 +08:00
orgmanax-dto feat(REQ-3282): 提供briefDTO,用于聚合 2024-12-25 15:28:36 +08:00
orgmanax-infra feat(REQ-3282): 提供briefDTO,用于聚合 2024-12-25 15:28:36 +08:00
orgmanax-integration feat:[REQ-3282] 暂时提交 2024-12-23 20:53:01 +08:00
orgmanax-server feat(REQ-3282): 提供briefDTO,用于聚合 2024-12-25 15:28:36 +08:00
orgmanax-starter feat(REQ-3282): 解决arthas启动问题 2024-12-25 11:01:37 +08:00
.gitignore chore(REQ-3282): 调整.gitignore 2024-12-19 10:20:53 +08:00
Dockerfile README.md 添加接口参数约束 2024-12-05 13:50:58 +08:00
img_1.png README.md 添加接口参数约束 2024-12-05 13:48:29 +08:00
img_2.png README.md调整 2024-12-17 17:16:27 +08:00
img_3.png README.md调整 2024-12-17 17:16:27 +08:00
img.png 目录层级调整 2024-12-05 11:45:49 +08:00
pom.xml feat(REQ-3282): 添加dto层。提供对外暴露的公共对象。 2024-12-23 17:21:14 +08:00
README.md feat(REQ-3282): README.md增加dto层描述 2024-12-23 19:55:32 +08:00

项目概述

  • 项目名称Orgmanax“Org” 代表 organization组织man 表示 “人”,ax 象征对这些元素进行整合.
  • 项目简介:维护单位、部门、人员、岗位相关的业务及数据,比如:通讯录、项目添加人员、添加班组、更换班组长等

名词说明

  • 企业/单位organizational_unit分为企业有营业执照和团队无营业执照团队主要用于挂载班组每个企业可以有自己的组织架构。 项目场景下,称为参加单位;每个单位在不同的项目参建的身份(总包、分包、建设单位等)可以不一致。
  • 部门(organizational_node):分为普通部门和班组部门,每个部门可设置部门负责人,且此负责人可以不归属于该部门,只是挂职。
  • 岗位(org_job):岗位主数据,同一个人在一个单位,一个项目下只会存在一个岗位。
  • 人:人挂在部门下;同一个工人可以挂在不同单位/团队(受最大次数限制);同一个工人可以挂在同一个项目的不同部门/班组。

所有人、岗、架相关数据发生变更,都要有统一的日志流水记录(按需发送消息事件)。

项目约束

  • 引用外部其它域、第三方SDK时需要与Leader确认禁止私自引入。
  • 枚举不要做成参数的返回值。防止使用方不发布版本,解析失败的问题。
  • service层提供的出参与入参不能包含ApiResult。
  • 所有的写接口都必须经过foundation层进行收口。
  • Server 模块分为 Service 与 Foundation。Foundation 承担基础功能Service 负责业务功能编排。同域 Service 只能用本域 Foundation不可用他域 Foundation若需跨域则必须调用他域 Service。
  • 业务上完全不用的数据才能标记为is_delete不使用全局默认值。
  • json框架使用fastjson。
  • 所有涉及到写的接口都需要增加operatorId操作人
  • 只有infra层可以操作数据库。

接口规范

  • 所有接口统一采用POST列表接口需要设置默认大小1000条
  • 接口出入参,必须使用可扩展的对象类型。不能直接是 StringInteger或者List这些无法扩展的类型。
  • 为每个接口定义自己的出入参,不要复用出入参
  • 接口URL使用 【-】符号进行分割,比如: /orgmanax/node/create-team
  • 接口定义规范: 使用/api/${domain}/${affiliateDomain}/${action} 形式进行定义。如:
/api/unit/create
/api/unit/update
/api/node-user/list
/api/org-user/page
/api/org-user/operate-log/page
  • domain 为主要操作/查询的对象。包含以下值
● unit -> 单位
● node -> 部门
● cooperate-ship -> 协同关系
● node-user -> 部门人员
● org-user -> 组织人员
● biz - 如确实无法评估接口归属可使用biz或其他
  • action 的规定取值如下
● create
● update
● upsert - 创建/更新一体的接口(如幂等接口)
● page
● detail
  • affiliateDomain 附属域模型 如快照,操作记录等。按需使用

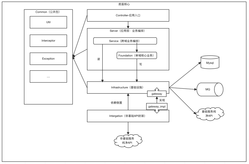
项目结构

img_2.png

模块描述

模块名称 功能 依赖
orgmanax-dto 通用对象层提供对外暴露的对象接口的出入参数「Req、Resp」、领域模型DTO、事件的payload等。仅在服务内部使用的模型不放在dto包里面
哪些对象应该放到dto包这个较难以甄别。目前暂定dto里面仅提供以下内容
1.api接口的入参和出参
2.对外统一暴露的领域聚合对象,如 NodeDTO、NodeUserDTO、UnitDTO等
3.对外暴露的枚举定义;
4.MQ消息体的payload定义
orgmanax-api API层提供给org-gateway的接口 orgmanax-dto
orgmanax-common 公共组件、UTIL等
orgmanax-infra 基础设施层,隔离非业务变化,防止外部变化引起内部业务变更。
对接二方服务数据库MQ等中件间
orgmanax-common
orgmanax-integration 封装了二方服务非纯净版本。如apollo-api、gaia-api等。等两方服务统一规范后该层就会移除。 orgmanax-infra
orgmanax-server 核心能力层,分为两块:
1、通用能力:foundation 单域核心逻辑如:创建部门,创建单位
2、人岗架业务能力service 如:创建班组、创建小组
service 依赖本域 foundation或他域service完成业务
orgmanax-api orgmanax-common orgmanax-infra
orgmanax-starter 启动类 orgmanax-api orgmanax-common orgmanax-infra orgmanax-server orgmanax-integration

各模块参数约束

img_3.png

  • REQ请求入参
  • RESP请求出参
  • XXXQuery基础功能入参
  • XXXCreate
  • XXXUpdate更新入参
  • DO数据库实体DO使用充血模型包括属性和行为定义行为的范围只能是本对象内部属性发生变更的行为

目录层级

.
├── orgmanax-dto # 通用对象包,仅提供需对外公开的对象,如:入参、出参、领域聚合对象、枚举等
│   └── src
│       └── main
│           └── java
│               └── cn
│                   └── axzo
│                       └── orgmanax
│                           └── dto
│                               ├── node
│                                   └── enums
│                                   └── dto
│                                   └── req
│                                   └── resp
│                                   └── payload
│                               └── nodeuser
│── orgmanax-api #给org-gateway提供的api
│   ├── src
│   │   ├── main
│   │   │   └── java
│   │   │       └── cn
│   │   │           └── axzo
│   │   │               └── orgmanax
│   │   │                   └── api#各域的fei与req
│   │   │                       ├── config #配置
│   │   │                       ├── cooperateship#协同关系
│   │   │                       │   ├── feign
│   │   │                       │   ├── req
│   │   │                       │   └── resp
│   │   │                       ├── node #节点
│   │   │                       │   ├── feign
│   │   │                       │   ├── req
│   │   │                       │   └── resp
├── orgmanax-common #公共包,如:常量、枚举、工具类、异常等
│   └── src
│       └── main
│           └── java
│               └── cn
│                   └── axzo
│                       └── orgmanax
│                           └── common
│                               ├── config
│                               └── entity
├── orgmanax-infra #基础设施层
│   ├── src
│   │   ├── main
│   │   │   └── java
│   │   │       └── cn
│   │   │           └── axzo
│   │   │               └── orgmanax
│   │   │                   └── infra
│   │   │                       ├── client#外部依赖
│   │   │                       │   ├── apollo#apollo相关依赖
│   │   │                       │   │   └── dto
│   │   │                       │   └── workspace#workspace相关依赖
│   │   │                       │       └── dto
│   │   │                       ├── config# 组件配置
│   │   │                       ├── dao#数据层
│   │   │                       │   ├── node#节点相关
│   │   │                       │   │   ├── dao  
│   │   │                       │   │   ├── entity#实体
│   │   │                       │   │   ├── mapper
│   │   │                       │   │   └── repository#防腐gateway
│   │   │                       │   │       └── impl
│   │   │                       │   └── unit#单位相关
│   │   │                       │       ├── dao
│   │   │                       │       ├── entity
│   │   │                       │       ├── mapper
│   │   │                       │       └── repository
│   │   │                       │           └── impl
├── orgmanax-integration #封装二方非纯净API
│   └── src
│       └── main
│           └── java
│               └── cn
│                   └── axzo
│                       └── orgmanax
│                           └── integration
│                               ├── config
│                               ├── core
│                               └── sdk
│                                   ├── apollo#apollo相关接口
│                                   ├── datacollection#datacollection相关接口
│                                   ├── elise
│                                   ├── gaia
│                                   └── profile
├── orgmanax-server#核心能力层
│   └── src
│       ├── main
│       │   └── java
│       │       └── cn
│       │           └── axzo
│       │               └── orgmanax
│       │                   └── server
│       │                       ├── cooperateship#协同关系域
│       │                       │   ├── controller  
│       │                       │   ├── event#协同关系事件
│       │                       │   │   └── inner
│       │                       │   │       └── payload
│       │                       │   └── service# 协同关系相关业务
│       │                       │       └── impl
│       │                       ├── node#部门相关
│       │                       │   ├── controller
│       │                       │   ├── event#部门事件
│       │                       │   │   └── inner
│       │                       │   │       └── payload
│       │                       │   ├── foundation#部门基础能力层
│       │                       │   │   ├── impl
│       │                       │   │   └── req
│       │                       │   └── service# 部门业务(创建班组、解散班组、更换班组长、创建小组)
│       │                       │       ├── impl
│       │                       │       └── processor                # 部门业务路由
│       │                       │           └── impl                # 部门业务具体现实(创建班组实现类、创建小组实现类)
└── orgmanax-starter #启动类
    └── src
        └── main
            ├── java
            │   └── cn
            │       └── axzo
            │           └── orgmanax
            └── resources

公共代码

  • 业务异常处理

cn.axzo.orgmanax.common.exception.BusinessException

  • 错误码定义

cn.axzo.orgmanax.common.config.BizResultCode

  • 快捷创建异常 cn.axzo.orgmanax.common.config.BizResultCode.toException()
  • 业务异常快捷判定

cn.axzo.foundation.exception.Axssert

  • 分页参数 入参: cn.axzo.foundation.page.PageReqV2 出参: cn.axzo.foundation.page.PageResp
    public class ListNodeUserReq extends PageReqV2 {
    
    }