# 项目概述
- 项目名称:Orgmanax:“Org” 代表 `organization(组织)`,`man` 表示 “人”,`ax` 象征对这些元素进行整合.
- 项目简介:维护单位、部门、人员、岗位相关的业务及数据,比如:通讯录、项目添加人员、添加班组、更换班组长等
## 名词说明
- 企业/单位(organizational_unit):分为企业(有营业执照)和团队(无营业执照);团队主要用于挂载班组;每个企业可以有自己的组织架构。
项目场景下,称为参加单位;每个单位在不同的项目参建的身份(总包、分包、建设单位等)可以不一致。
- 部门(organizational_node):分为普通部门和班组部门,每个部门可设置部门负责人,且此负责人可以不归属于该部门,只是挂职。
- 岗位(org_job):岗位主数据,同一个人在一个单位,一个项目下只会存在一个岗位。
- 人:人挂在部门下;同一个工人可以挂在不同单位/团队(受最大次数限制);同一个工人可以挂在同一个项目的不同部门/班组。
所有人、岗、架相关数据发生变更,都要有统一的日志流水记录(按需发送消息事件)。
# 项目约束
- 引用外部(其它域、第三方)SDK时,需要与Leader确认,禁止私自引入。
- 枚举不要做成参数的返回值。防止使用方不发布版本,解析失败的问题。
- service层提供的出参与入参不能包含ApiResult。
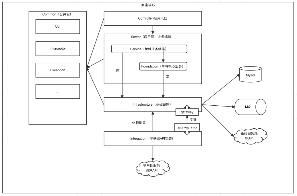
- 所有的写接口都必须经过foundation层进行收口。
- Server 模块分为 Service 与 Foundation。Foundation 承担基础功能,Service 负责业务功能编排。同域 Service 只能用本域 Foundation,不可用他域 Foundation,若需跨域则必须调用他域 Service。
- 业务上完全不用的数据,才能标记为is_delete,不使用全局默认值。
- json框架使用fastjson。
- 所有涉及到写的接口,都需要增加operatorId(操作人)
- 只有infra层可以操作数据库。
-
## 接口规范
- 所有接口统一采用POST,列表接口需要设置默认大小1000条
- 接口出入参,必须使用可扩展的对象类型。不能直接是 String,Integer,或者List这些无法扩展的类型。
- 为每个接口定义自己的出入参,不要复用出入参
- 接口URL使用 【-】符号进行分割,比如: /orgmanax/node/create-team
- 接口定义规范: 使用```/api/${domain}/${affiliateDomain}/${action}``` 形式进行定义。如:
```
/api/unit/create
/api/unit/update
/api/node-user/list
/api/org-user/page
/api/org-user/operate-log/page
```
* domain 为主要操作/查询的对象。包含以下值
```
● unit -> 单位
● node -> 部门
● cooperate-ship -> 协同关系
● node-user -> 部门人员
● org-user -> 组织人员
● biz - 如确实无法评估接口归属,可使用biz,或其他
```
- action 的规定取值如下
```
● create
● update
● upsert - 创建/更新一体的接口(如幂等接口)
● page
● detail
```
- affiliateDomain 附属域模型 如快照,操作记录等。按需使用
# 项目结构

## 模块描述
模块名称 | 功能 | 依赖
------ |----------------------------------------------------------------------------------------------------------------------------------------------------------------------------------------------------------------------------------------| ----
`orgmanax-dto` | 通用对象层,提供对外暴露的对象(如:接口的出入参数「Req、Resp」、领域模型DTO、事件的payload等。仅在服务内部使用的模型,不放在dto包里面;
哪些对象应该放到dto包,这个较难以甄别。目前暂定dto里面仅提供以下内容:
1.api接口的`入参和出参`;
2.对外统一暴露的`领域聚合对象`,如 NodeDTO、NodeUserDTO、UnitDTO等;
3.对外暴露的`枚举`定义;
4.MQ消息体的`payload`定义 | 无
`orgmanax-api` | API层,提供给org-gateway的接口 | `orgmanax-dto`
`orgmanax-common`| 公共组件、UTIL等 |无
`orgmanax-infra` | 基础设施层,隔离非业务变化,防止外部变化引起内部业务变更。
对接二方服务,数据库,MQ等中件间 | `orgmanax-common`
`orgmanax-integration`| 封装了二方服务非纯净版本。如:apollo-api、gaia-api等。等两方服务统一规范后,该层就会移除。 | `orgmanax-infra`
`orgmanax-server`| 核心能力层,分为两块:
1、通用能力:`foundation` 单域核心逻辑如:创建部门,创建单位
2、人岗架业务能力:`service` 如:创建班组、创建小组
`service` 依赖本域 `foundation`或他域service完成业务 | `orgmanax-api` `orgmanax-common` `orgmanax-infra`
`orgmanax-starter`| 启动类 | `orgmanax-api` `orgmanax-common` `orgmanax-infra` `orgmanax-server` `orgmanax-integration`
## 各模块参数约束

- REQ:请求入参
- RESP:请求出参
- XXXQuery:基础功能入参
- XXXCreate:
- XXXUpdate:更新入参
- DO:数据库实体,DO使用充血模型,包括属性和行为,定义行为的范围:只能是本对象内部属性发生变更的行为
## 目录层级
```
.
├── orgmanax-dto # 通用对象包,仅提供需对外公开的对象,如:入参、出参、领域聚合对象、枚举等
│ └── src
│ └── main
│ └── java
│ └── cn
│ └── axzo
│ └── orgmanax
│ └── dto
│ ├── node
│ └── enums
│ └── dto
│ └── req
│ └── resp
│ └── payload
│ └── nodeuser
│── orgmanax-api #给org-gateway提供的api
│ ├── src
│ │ ├── main
│ │ │ └── java
│ │ │ └── cn
│ │ │ └── axzo
│ │ │ └── orgmanax
│ │ │ └── api#各域的fei与req
│ │ │ ├── config #配置
│ │ │ ├── cooperateship#协同关系
│ │ │ │ ├── feign
│ │ │ │ ├── req
│ │ │ │ └── resp
│ │ │ ├── node #节点
│ │ │ │ ├── feign
│ │ │ │ ├── req
│ │ │ │ └── resp
├── orgmanax-common #公共包,如:常量、枚举、工具类、异常等
│ └── src
│ └── main
│ └── java
│ └── cn
│ └── axzo
│ └── orgmanax
│ └── common
│ ├── config
│ └── entity
├── orgmanax-infra #基础设施层
│ ├── src
│ │ ├── main
│ │ │ └── java
│ │ │ └── cn
│ │ │ └── axzo
│ │ │ └── orgmanax
│ │ │ └── infra
│ │ │ ├── client#外部依赖
│ │ │ │ ├── apollo#apollo相关依赖
│ │ │ │ │ └── dto
│ │ │ │ └── workspace#workspace相关依赖
│ │ │ │ └── dto
│ │ │ ├── config# 组件配置
│ │ │ ├── dao#数据层
│ │ │ │ ├── node#节点相关
│ │ │ │ │ ├── dao
│ │ │ │ │ ├── entity#实体
│ │ │ │ │ ├── mapper
│ │ │ │ │ └── repository#防腐gateway
│ │ │ │ │ └── impl
│ │ │ │ └── unit#单位相关
│ │ │ │ ├── dao
│ │ │ │ ├── entity
│ │ │ │ ├── mapper
│ │ │ │ └── repository
│ │ │ │ └── impl
├── orgmanax-integration #封装二方非纯净API
│ └── src
│ └── main
│ └── java
│ └── cn
│ └── axzo
│ └── orgmanax
│ └── integration
│ ├── config
│ ├── core
│ └── sdk
│ ├── apollo#apollo相关接口
│ ├── datacollection#datacollection相关接口
│ ├── elise
│ ├── gaia
│ └── profile
├── orgmanax-server#核心能力层
│ └── src
│ ├── main
│ │ └── java
│ │ └── cn
│ │ └── axzo
│ │ └── orgmanax
│ │ └── server
│ │ ├── cooperateship#协同关系域
│ │ │ ├── controller
│ │ │ ├── event#协同关系事件
│ │ │ │ └── inner
│ │ │ │ └── payload
│ │ │ └── service# 协同关系相关业务
│ │ │ └── impl
│ │ ├── node#部门相关
│ │ │ ├── controller
│ │ │ ├── event#部门事件
│ │ │ │ └── inner
│ │ │ │ └── payload
│ │ │ ├── foundation#部门基础能力层
│ │ │ │ ├── impl
│ │ │ │ └── req
│ │ │ └── service# 部门业务(创建班组、解散班组、更换班组长、创建小组)
│ │ │ ├── impl
│ │ │ └── processor # 部门业务路由
│ │ │ └── impl # 部门业务具体现实(创建班组实现类、创建小组实现类)
└── orgmanax-starter #启动类
└── src
└── main
├── java
│ └── cn
│ └── axzo
│ └── orgmanax
└── resources
```
# 公共代码
* 业务异常处理
> cn.axzo.orgmanax.common.exception.BusinessException
>
* 错误码定义
> cn.axzo.orgmanax.common.config.BizResultCode
> * 快捷创建异常 cn.axzo.orgmanax.common.config.BizResultCode.toException()
* 业务异常快捷判定
> cn.axzo.foundation.exception.Axssert
* 分页参数
入参: cn.axzo.foundation.page.PageReqV2
出参: cn.axzo.foundation.page.PageResp
```
public class ListNodeUserReq extends PageReqV2 {
}
```