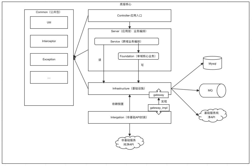
# 项目概述 - 项目名称:Orgmanax:“Org” 代表 `organization(组织)`,`man` 表示 “人”,`ax` 象征对这些元素进行整合. - 项目简介:维护单位、部门、人员、岗位相关的业务及数据,比如:通讯录、项目添加人员、添加班组、更换班组长等 ## 名词说明 - 企业/单位(organizational_unit):分为企业(有营业执照)和团队(无营业执照);团队主要用于挂载班组;每个企业可以有自己的组织架构。 项目场景下,称为参加单位;每个单位在不同的项目参建的身份(总包、分包、建设单位等)可以不一致。 - 部门(organizational_node):分为普通部门和班组部门,每个部门可设置部门负责人,且此负责人可以不归属于该部门,只是挂职。 - 岗位(org_job):岗位主数据,同一个人在一个单位,一个项目下只会存在一个岗位。 - 人:人挂在部门下;同一个工人可以挂在不同单位/团队(受最大次数限制);同一个工人可以挂在同一个项目的不同部门/班组。 所有人、岗、架相关数据发生变更,都要有统一的日志流水记录(按需发送消息事件)。 # 项目约束 - 引用外部(其它域、第三方)SDK时,需要与Leader确认,禁止私自引入。 - 枚举不要做成参数的返回值。防止使用方不发布版本,解析失败的问题。 - service层提供的出参与入参不能包含ApiResult。 - 所有的写接口都必须经过foundation层进行收口。 - Server 模块分为 Service 与 Foundation。Foundation 承担基础功能,Service 负责业务功能编排。同域 Service 只能用本域 Foundation,不可用他域 Foundation,若需跨域则必须调用他域 Service。 - 业务上完全不用的数据,才能标记为is_delete,不使用全局默认值。 - json框架使用fastjson。 - 所有涉及到写的接口,都需要增加operatorId(操作人) - 只有infra层可以操作数据库。 - ## 接口规范 - 所有接口统一采用POST,列表接口需要设置默认大小1000条 - 接口出入参,必须使用可扩展的对象类型。不能直接是 String,Integer,或者List这些无法扩展的类型。 - 为每个接口定义自己的出入参,不要复用出入参 - 接口URL使用 【-】符号进行分割,比如: /orgmanax/node/create-team - 接口定义规范: 使用```/api/${domain}/${affiliateDomain}/${action}``` 形式进行定义。如: ``` /api/unit/create /api/unit/update /api/node-user/list /api/org-user/page /api/org-user/operate-log/page ``` * domain 为主要操作/查询的对象。包含以下值 ``` ● unit -> 单位 ● node -> 部门 ● cooperate-ship -> 协同关系 ● node-user -> 部门人员 ● org-user -> 组织人员 ● biz - 如确实无法评估接口归属,可使用biz,或其他 ``` - action 的规定取值如下 ``` ● create ● update ● upsert - 创建/更新一体的接口(如幂等接口) ● page ● detail ``` - affiliateDomain 附属域模型 如快照,操作记录等。按需使用 # 项目结构 ![img_2.png](img_2.png) ## 模块描述 模块名称 | 功能 | 依赖 ------ |----------------------------------------------------------------------------------------------------------------------------------------------------------------------------------------------------------------------------------------| ---- `orgmanax-dto` | 通用对象层,提供对外暴露的对象(如:接口的出入参数「Req、Resp」、领域模型DTO、事件的payload等。仅在服务内部使用的模型,不放在dto包里面;
哪些对象应该放到dto包,这个较难以甄别。目前暂定dto里面仅提供以下内容:
1.api接口的`入参和出参`;
2.对外统一暴露的`领域聚合对象`,如 NodeDTO、NodeUserDTO、UnitDTO等;
3.对外暴露的`枚举`定义;
4.MQ消息体的`payload`定义 | 无 `orgmanax-api` | API层,提供给org-gateway的接口 | `orgmanax-dto` `orgmanax-common`| 公共组件、UTIL等 |无 `orgmanax-infra` | 基础设施层,隔离非业务变化,防止外部变化引起内部业务变更。
对接二方服务,数据库,MQ等中件间 | `orgmanax-common` `orgmanax-integration`| 封装了二方服务非纯净版本。如:apollo-api、gaia-api等。等两方服务统一规范后,该层就会移除。 | `orgmanax-infra` `orgmanax-server`| 核心能力层,分为两块:
1、通用能力:`foundation` 单域核心逻辑如:创建部门,创建单位
2、人岗架业务能力:`service` 如:创建班组、创建小组
`service` 依赖本域 `foundation`或他域service完成业务 | `orgmanax-api` `orgmanax-common` `orgmanax-infra` `orgmanax-starter`| 启动类 | `orgmanax-api` `orgmanax-common` `orgmanax-infra` `orgmanax-server` `orgmanax-integration` ## 各模块参数约束 ![img_3.png](img_3.png) - REQ:请求入参 - RESP:请求出参 - XXXQuery:基础功能入参 - XXXCreate: - XXXUpdate:更新入参 - DO:数据库实体,DO使用充血模型,包括属性和行为,定义行为的范围:只能是本对象内部属性发生变更的行为 ## 目录层级 ``` . ├── orgmanax-dto # 通用对象包,仅提供需对外公开的对象,如:入参、出参、领域聚合对象、枚举等 │   └── src │   └── main │   └── java │   └── cn │   └── axzo │   └── orgmanax │   └── dto │   ├── node │   └── enums │   └── dto │   └── req │   └── resp │   └── payload │   └── nodeuser │── orgmanax-api #给org-gateway提供的api │   ├── src │   │   ├── main │   │   │   └── java │   │   │   └── cn │   │   │   └── axzo │   │   │   └── orgmanax │   │   │   └── api#各域的fei与req │   │   │   ├── config #配置 │   │   │   ├── cooperateship#协同关系 │   │   │   │   ├── feign │   │   │   │   ├── req │   │   │   │   └── resp │   │   │   ├── node #节点 │   │   │   │   ├── feign │   │   │   │   ├── req │   │   │   │   └── resp ├── orgmanax-common #公共包,如:常量、枚举、工具类、异常等 │   └── src │   └── main │   └── java │   └── cn │   └── axzo │   └── orgmanax │   └── common │   ├── config │   └── entity ├── orgmanax-infra #基础设施层 │   ├── src │   │   ├── main │   │   │   └── java │   │   │   └── cn │   │   │   └── axzo │   │   │   └── orgmanax │   │   │   └── infra │   │   │   ├── client#外部依赖 │   │   │   │   ├── apollo#apollo相关依赖 │   │   │   │   │   └── dto │   │   │   │   └── workspace#workspace相关依赖 │   │   │   │   └── dto │   │   │   ├── config# 组件配置 │   │   │   ├── dao#数据层 │   │   │   │   ├── node#节点相关 │   │   │   │   │   ├── dao │   │   │   │   │   ├── entity#实体 │   │   │   │   │   ├── mapper │   │   │   │   │   └── repository#防腐gateway │   │   │   │   │   └── impl │   │   │   │   └── unit#单位相关 │   │   │   │   ├── dao │   │   │   │   ├── entity │   │   │   │   ├── mapper │   │   │   │   └── repository │   │   │   │   └── impl ├── orgmanax-integration #封装二方非纯净API │   └── src │   └── main │   └── java │   └── cn │   └── axzo │   └── orgmanax │   └── integration │   ├── config │   ├── core │   └── sdk │   ├── apollo#apollo相关接口 │   ├── datacollection#datacollection相关接口 │   ├── elise │   ├── gaia │   └── profile ├── orgmanax-server#核心能力层 │   └── src │   ├── main │   │   └── java │   │   └── cn │   │   └── axzo │   │   └── orgmanax │   │   └── server │   │   ├── cooperateship#协同关系域 │   │   │   ├── controller │   │   │   ├── event#协同关系事件 │   │   │   │   └── inner │   │   │   │   └── payload │   │   │   └── service# 协同关系相关业务 │   │   │   └── impl │   │   ├── node#部门相关 │   │   │   ├── controller │   │   │   ├── event#部门事件 │   │   │   │   └── inner │   │   │   │   └── payload │   │   │   ├── foundation#部门基础能力层 │   │   │   │   ├── impl │   │   │   │   └── req │   │   │   └── service# 部门业务(创建班组、解散班组、更换班组长、创建小组) │   │   │   ├── impl │   │   │   └── processor # 部门业务路由 │   │   │   └── impl # 部门业务具体现实(创建班组实现类、创建小组实现类) └── orgmanax-starter #启动类 └── src └── main ├── java │   └── cn │   └── axzo │   └── orgmanax └── resources ``` # 公共代码 * 业务异常处理 > cn.axzo.orgmanax.common.exception.BusinessException > * 错误码定义 > cn.axzo.orgmanax.common.config.BizResultCode > * 快捷创建异常 cn.axzo.orgmanax.common.config.BizResultCode.toException() * 业务异常快捷判定 > cn.axzo.foundation.exception.Axssert * 分页参数 入参: cn.axzo.foundation.page.PageReqV2 出参: cn.axzo.foundation.page.PageResp ``` public class ListNodeUserReq extends PageReqV2 { } ```